时间:2017-04-17 08:50:25 作者: 点击:次
随着谷歌Chrome Book的成功,市场对云端设备的需求也一步步显现了出来。微软开始按捺不住,看上了这块市场。继微软宣布五月二号的教育主题硬件发布会后,大家一直期待着会在发布会上看到什么样子的Windows 10 Cloud设备,现在,又一份证据证明了微软想跟谷歌Chrome Book竞争的野心。一份有关漫游同步用户资料的专利曝光了。

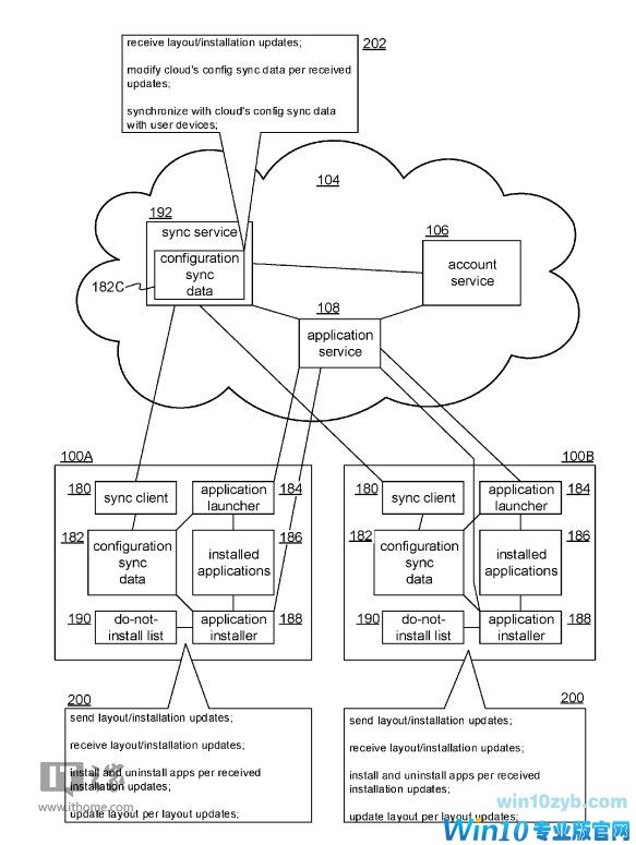
一直以来,谷歌Chrome Book都以其安全和易于管理的特性著称,并且登陆一个账号就能瞬间使用所有改账号的应用和数据使得Chrome Book在教育市场非常火爆。近日,微软更新了一份2016年12月的专利,在该专利的应用安装和布局同步的功能的部分,微软提到了在Windows 10 Cloud中,用户可以使用账户号密码或者Windows Hello的生物识别信息来登陆任何Cloud设备,相应设备会在云端获取该用户信息,应该安装的应用和所有应用在开始界面的布局。

当然,微软在Windows 8的时代就已经为用户提供了微软账户这个功能,并且用户可以在登陆自己的账号之后在设备上自动同步自己的用户信息和应用。看来这次的Windows 10 Cloud会在这个功能上再一次升级。一切都会在五月二号的硬件大会上揭晓,大家拭目以待。
【Win10 纯净版】秋叶系统32位下载 v2026
【Win10 纯净版】秋叶系统64位下载 v2026
【Win10 装机版】秋叶系统32位下载 v2026
【Win10 装机版】秋叶系统64位下载 v2026
深度技术 Windows10 32位 专业版 V2026.0
深度技术 Windows10 22H2 64位 专业版 V2
深度技术 Windows10 22H2 64位 专业版 V2
系统之家 Win10 32位专业版(免激活)v2026.0
系统之家 Win10 64位专业版(免激活)v2026.0
番茄花园Windows 10 专业版32位下载 v202
雨林木风 Windows10 22H2 64位 V2026.04(
雨林木风 Windows10 32位 官方专业版 V20
萝卜家园 Windows10 64位 优化精简版 V20
萝卜家园 Windows10 32位 优化精简版 V20
番茄花园Windows 10 专业版64位下载 v202
番茄花园Windows 10 专业版32位下载 v202
系统之家 Win10 64位专业版(免激活)v2026.0
系统之家 Win10 32位专业版(免激活)v2026.0
深度技术 Windows10 22H2 64位 专业版 V2
深度技术 Windows10 22H2 64位 专业版 V2